繼《國家級建築工程指定之ETA認證水泥壁虎螺絲》文章後,大家應該知道水泥壁虎螺絲有多好用了吧?但這樣還不夠,此篇帶您認識更多關於久可水泥壁虎螺絲的建築認證之路。
地震工程的省思:建築結構的重要性
台灣位於環太平洋地震帶,地震次數頻繁,在工程界有句老話:「地震不會殺人,建築物才會。」以下圖片相信各位應該不陌生:


久可工業的堅持:歐盟 ETA 最高規格認證
您可能見過許多國內外報導與研究地震的團隊指出:多數建築倒塌是因為結構施工不良、不完備的耐震規範等原因,但又有多少人願意投入並推動改善呢?
如果您在建築行業打滾許久,應該對 ICC-ES(美國建築規範)與 ETA-CE(歐盟建築規範)不陌生;而久可工業早在 2014 年便率先通過歐盟最嚴格的建築產品規範——ETA CE 認證,展現深厚的技術實力。2022 年初,更取得多數客戶高度關注的抗震最高等級認證,產品性能已達 HILTI、Fischer、WURTH 等歐美大廠同等水準,品質值得信賴。我們的 ETA 認證水泥壁虎螺絲採用特殊塗層,擁有 1000 小時高防鏽能力,超越一般 4 字不鏽鋼,同時通過了 120 分鐘的防火測試與 C1&C2 的嚴苛防震測試。您可透過下方我們精選的德國實驗室測試手冊內容,具體感受該測試規範的高標準與嚴謹程度。
1. 歐盟 ETA 德國實驗室認證:防火測試
德國實驗室認證之防火測試,碳鋼水泥螺絲數據參考如下,分別為30分鐘、60分鐘、90分鐘與120分鐘的防火測試




2. 歐盟 ETA 德國實驗室認證:最嚴苛地震測試 (C1 & C2)
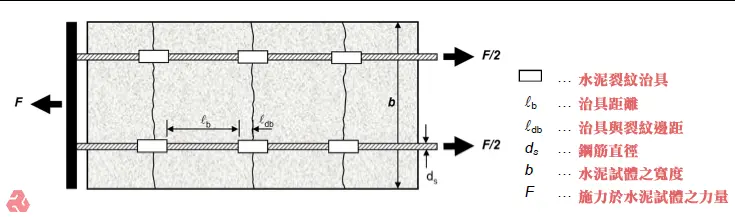
1) 以下為剪力測試之設備施力試驗內容與方法:


2) 以下為測量水泥裂痕寬度之方法:


3) 剪力試驗方法:



結論:安全、省時、高效的選擇
看完以上測試內容,相信您已能放心選用久可工業通過認證的水泥壁虎螺絲。在這個缺工嚴重、人力成本節節攀升的時代,久可的水泥壁虎螺絲可節省高達 2/3 的安裝時間,不僅安全可靠,更能大幅減輕施工人員負擔。用過一次,您就知道傳統膨脹壁虎真的回不去了!
此外,我們也可提供目前最受矚目的不鏽鋼材質水泥螺絲錨栓,也在今年取得歐盟 ETA 最高級別認證,相較於其他國外知名大廠,久可是目前全球唯二、也是唯一一間取得不鏽鋼C2防震認證的台灣扣件製造商。
還在苦等 HILTI 喜利得供貨嗎?馬上聯絡久可工業,提供您現貨與更好的選擇!
記得分享此篇文章給你所有害怕地震的朋友,以及建築業的佼佼者,甚至是協助台灣科技業建廠的倉儲、抗震架、精密機械固定需求的廠商們!
請問政府有跟上歐洲跟美國這類法規嗎? 台灣很需要!!
久可工業也希望政府陸續跟上歐美法規,針對建築中重型乘載的關鍵點的扣件,例如水泥螺絲納入法規
我們客戶還是有些品牌迷思,貴司提到與大廠HILTI同等認證跟等級,請問我們要如何跟客戶佐證?
久可與HILTI/fischer同樣都取得同等級別的歐洲認證,獲得證書的都會有專屬的證書號碼可以查詢數據!
依久可的為例,水泥壁虎螺絲有申請兩個證號 14/0374 (最高級別) 跟21/0177 (天花板吊掛消防應用)
如還有疑問,歡迎來電來信詢問我們!